基礎(伏図・断面)

[リボンメニュー]

[木造(W)]メニュー→[基礎(ZE)]→[基礎(伏図)(1)]

[コマンド名称]

WCFFND

[コマンドコード]

J935

[ショートカット]

[ポップアップメニュー]

[プルダウンメニュー]

[木造(C)]メニュー→[基礎(伏図)(F)]

基礎(伏図・断面)を作成します。

布基礎とベタ基礎の伏図、布基礎とベタ基礎と独立基礎の断面図を作図します。

ダイアログ

①基礎(断面)ダイアログを表示します。

[基礎断面作図]ボタンをクリックすると、基礎(断面)ダイアログに切り替わります。ボタンは[基礎伏図作図]ボタンになります。ボタンをクリックするごとに断面と伏図のダイアログを切り替えられます。

基礎(伏図)ダイアログ

切替

基礎(断面)ダイアログ

②基礎種別
作図する基礎の種類を指定します。

③立上り幅を指定します。

④フーチン幅を指定します。

⑤偏心距離

カーソルから中心線を離して作図する場合に、その距離を設定します。偏心方向は、2点指定後、方向を指定します。

例:偏心距離=225 方向:上

例:偏心距離=225 方向:下

⑥現在のアクティブ属性で作図する場合に☑します。
☐の場合、木造の【共通属性設定】コマンドの伏図は〔伏図〕タブで設定した属性で作図されます。

ポイントを指示後、右クリックすると以下の編集メニューが表示されます。

ここでは、指示点をキャンセル、および作図を終了することができます。

[継続]

メニューを閉じて作図を続けます。

[一つ戻る]

指示した点を1つキャンセルし、1つ前の点に戻ります。

[やり直し]

指示した点をすべてキャンセルし、1点目から指示をやり直します。

[方向反転]

布基礎L型の場合、立上り方向を反転します。

[この図形を閉じる]

作図領域を閉じて、作図を終了します。

[作図終了]

作図を終了します。

基礎断面ダイアログ

①基礎(伏図)ダイアログを表示します。

[基礎伏図作図]ボタンをクリックすると、基礎(伏図)ダイアログに切り替わります。ボタンは[基礎断面作図]ボタンになり、クリックするごとに断面と伏図のダイアログを切り替えられます。

②基礎種別

作図する基礎の種類を指定します。


③基礎の各寸法を指定します。

基礎種別ごとのA~Kの各寸法は下図の通りです。基礎の種類によって設定できない寸法があります。

Fは他の寸法から自動計算されるため設定できません。

布基礎T型

布基礎L型

ベタ基礎外部

ベタ基礎内部A

ベタ基礎内部B

独立基礎

④カーソルから原点を離して作図する場合に、その距離を設定します。

逃げ=0の場合

作図原点はY方向:GL上、

X方向:Aの中央

原点を基準にX方向にカーソルから原点を離す

例:逃げ=50の場合

⑤現在のアクティブ属性で作図する場合に☑します。
☐の場合、木造の【共通属性設定】コマンドの断面は〔断面1〕タブで設定した属性で作図されます。

操 作

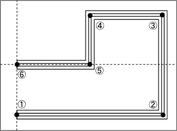
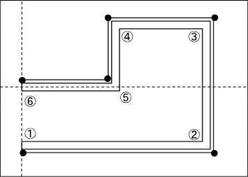
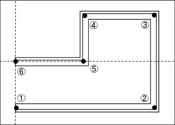
伏図・布基礎T型・偏心距離=0の場合

1始点を指示するとラバーバンドが表示されます。2点目を指示すると、設定されたサイズの基礎が表示されます。

2.3点目以降を指示します。

3.右クリックで編集メニューを表示します。[この図形を閉じる]または[作図終了]を指定すると、作図します。

[この図形を閉じる]

[作図終了]

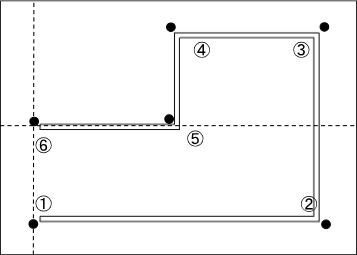
伏図・布基礎T型・偏心距離≠0の場合

1.始点を指示するとラバーバンドが表示されます。2点目を指示すると、設定されたサイズの基礎が表示されます。

2.偏心方向を指示し、3点目以降を指示します。

3.右クリックで編集メニューを表示します。[この図形を閉じる]または[作図終了]を指定すると、作図します。

[この図形を閉じる]

[作図終了]


伏図・布基礎L型・偏心距離=0の場合

1.始点を指示するとラバーバンドが表示されます。2点目を指示すると、設定されたサイズの基礎が表示されます。

2.立上り方向を指示し、3点目以降を指示します。

3.右クリックで編集メニューを表示します。[この図形を閉じる]または[作図終了]を指定すると、作図します。

[この図形を閉じる]

[作図終了]


伏図・布基礎L型・偏心距離≠0の場合

1.始点を指示するとラバーバンドが表示されます。2点目を指示すると、設定されたサイズの基礎が表示されます。

2.立上り方向を指示します。

3.偏心方向を指示し、3点目以降を指示します。


4.右クリックで編集メニューを表示します。[この図形を閉じる]または[作図終了]を指定すると、作図します。

[この図形を閉じる]

[作図終了]

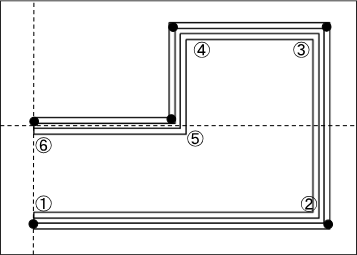
伏図・ベタ基礎外部またはベタ基礎内部・偏心距離=0の場合

1.始点を指示するとラバーバンドが表示されます。2点目を指示すると、設定されたサイズの立上りのみの基礎が表示されます。

2.3点目以降を指示します。


3.右クリックで編集メニューを表示します。[この図形を閉じる]または[作図終了]を指定すると、作図します。

[この図形を閉じる]

[作図終了]

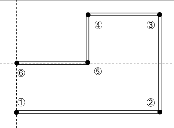
伏図・ベタ基礎外部またはベタ基礎内部・偏心距離≠0の場合

1.始点を指示するとラバーバンドが表示されます。2点目を指示すると、設定されたサイズの立上りのみの基礎が表示されます。

2.偏心方向を指示し、3点目以降を指示します。


3.右クリックで編集メニューを表示します。[この図形を閉じる]または[作図終了]を指定すると、作図します。

[この図形を閉じる]

[作図終了]

断面

カーソルに設定されたサイズの基礎が表示されます。作図する位置を指示すると、作図します。

例:ベタ基礎外部 逃げ=0に設定した場合